“复方感冒灵颗粒(999)禁售!”12月11日上午,康佰家大药房浦江中山路店的药师在为顾客结账时,系统突然提醒感冒灵颗粒无法销售了。他赶紧拿起手机,才看到浦江县市场监管局在全县药店工作群里通知:“即时起,所有零售药店立即暂停四大类药品销售!”

药店负责人还未查看停售消息,系统怎么就自动禁售了呢?其实,这是浦江县市场监管局创新推进“数字化改革”带来的效率重塑。今年,浦江县市场监管局聚焦药品安全监管中的堵点难点痛点,积极推进数字化改革,建设完成零售药店全场景智控+黑匣子应用。实现系统“禁售”的,就是该应用中的“药品管控”应用场景。
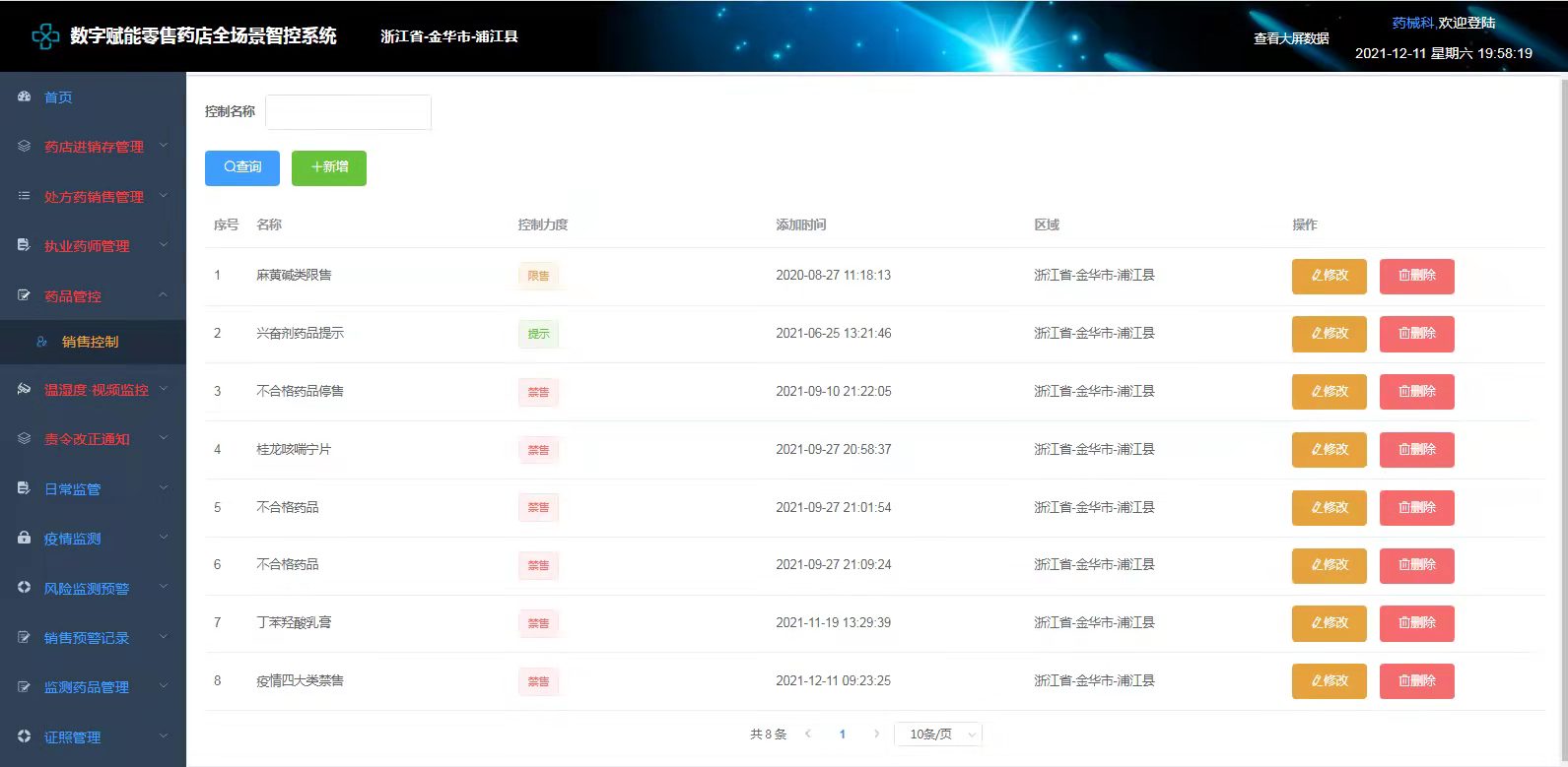
12月11日上午,浦江县市场监管局接到上级指令,为全力做好疫情防控工作,要求各类零售药店暂停销售退热、止咳、抗病毒、抗生素四大类药品。接到指令后,该局药械监管科科长立即登录零售药店全场景智控系统,在“药品管控”应用场景中输入禁售四大类药品的名称,点击“禁售”,即实现了“一键锁定”,全县171家药店随即无法进行销售。

“该系统与全县范围内的所有药店销售系统连接,我们只要实行‘禁售’,药店就无法进行交易。即使药店负责人没有及时查看工作群内的消息,也能实现从通知到落实的“零时差”和对全县171家药店的全覆盖。”蒋小龙介绍。目前,全省仅浦江实现了对管控药品的“一键锁定”。

与以往只能依靠纸质文件和工作群传达相比,系统“禁售”功能不仅节省了基层监管人员逐店核查的时间精力,而且能够对禁售的效果实现百分百托底。
除了能对四大类药品采取禁售措施外,还能禁售质量不合格或存在严重不良反应的药品,切实保障群众用药安全。此外,“药品管控”应用场景还有限售、提示2种控制功能。限售主要针对含麻黄碱类药品,系统设置只能凭身份证实名购买,且每人每天只能购买2盒。提示主要是对含兴奋剂药品的销售提示,药店在销售相关药品时,系统会自动进行语音提醒,防止顾客因不知情而误购误服,如运动员对含兴奋剂类药品必须谨慎。
数字赋能提升治理效能。从药品购销数据实时监测,到智能机器人助守药店“小门”,再到指定药品限售、禁售,浦江县市场监管局持续推动数字化应用迭代升级,进一步建立了科学完善的药品安全治理体系,为老百姓享有更多更放心的药品“保驾护航”。

